产品详情
QKKG矿用一般型高压起动电抗器柜
- 厂家信息
- 产品信息
- 规格参数
- 技术文档
山东捷远电气股份有限公司始建于一九七〇年,现有员工300余人,是山东省经国家相关部委验收合格并取得高、低压开关柜生产许可证的企业,是中国电器工业协会高压开关分会会员单位,山东区域3C认证A类生产企业。
公司在青州市经济开发区建有现代化的生产基地,2021年在青岛高新区成立捷远电气(青岛)有限公司,主要从事产品研发及销售。
产品图片
QKKG矿用一般型高压起动电抗器柜

产品描述
—、用途
QKKG矿用一般型高压起动电抗器柜(以下简称电抗器柜)符合国家标准GB/T12173-2008矿用一般型电气设备,并经国家指定检验单位审查,检验合格,取得了合格证。
该电抗器柜主要用于非煤矿山的各种大型轻重负荷,水泵、风机等的起动,以降低起动电流,减少起动电流对电网的冲击。采用串高压干式电抗器起动,高压真空接触器短接电抗器起动方式。
二、使用环境
周围空气温度:-20°C~+40°C;
海拔高度:不超过1000m;
周围空气相对湿度不大于95%(在25°C时) ;
在无显著摇动与冲击振动的地方;
在无瓦斯,煤尘爆炸危险的场所;
在无破坏绝缘及腐蚀金属的气体和蒸汽的环境;
允许在少量垂直滴水的地方;
应水平安装(倾斜度不超过5° )。
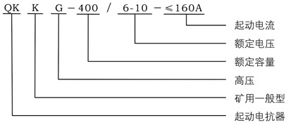
三、产品型号含义

产品型式
开关柜为矿用一般型,标志为“KA”。
产品特点
暂无内容
技术参数
| 项目 | 参数 |
| 额定电压 | 6kV、10kV |
| 最高工作电压 | 7.2kV、12kV |
| 起动电流 | ≤160A |
| 额定频率 | 50Hz |
| 额定负载电流 | ≤25A |
| 额定容量(功率) | 400kW |
| 控制回路的额定操作电压和辅助回路的额定电压——外供电源交流 | 220V |
| 工作制 | 电抗器部分 短时 真空接触器部分 长期 |
| 冷却方式 | 自然冷却 |
技术参数
| 项目 | 参数 |
| 额定电压 | 6kV、10kV |
| 最高工作电压 | 7.2kV、12kV |
| 起动电流 | ≤160A |
| 额定频率 | 50Hz |
| 额定负载电流 | ≤25A |
| 额定容量(功率) | 400kW |
| 控制回路的额定操作电压和辅助回路的额定电压——外供电源交流 | 220V |
| 工作制 | 电抗器部分 短时 真空接触器部分 长期 |
| 冷却方式 | 自然冷却 |
